Наближається золотий вік технологій доповненої та віртуальної реальності. Завдяки концепції метапростору ці технології стають дедалі популярнішими, особливо після представлення Vision Pro від Apple. Однак Apple – не єдиний гравець на цьому ринку. Microsoft вже давно випускає окуляри віртуальної та доповненої реальності під назвою HoloLens.
Тепер компанія отримала новий патент, який передбачає модульний HoloLens 3. Це потенційно може зробити технологію змішаної реальності більш спеціалізованою, адаптованою та доступною для різних користувачів. Детальніше про це читайте тут…
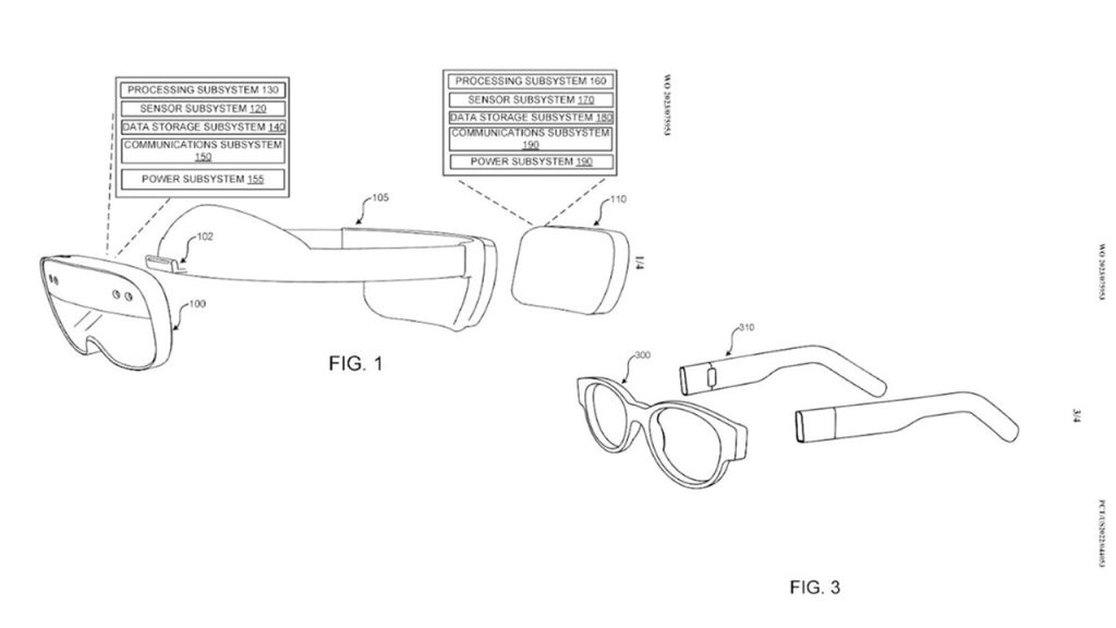
Наступне покоління HoloLens 3 від Microsoft може стати доступнішим та адаптованішим завдяки модульному дизайну
Якщо ви ентузіаст технологій, патентні заявки можуть бути для вас досить цікавими. Хоча ці процедури можуть здатися просто паперовою роботою, насправді вони дають підказки про майбутні плани технологічних компаній, за якими ми уважно стежимо. Так, компанія Microsoft отримала новий патент. Цей патент, який базується на технології змішаної реальності, що поєднує AR і VR, містить підказки про те, яким буде довгоочікуваний HoloLens 3.

Найцікавішою деталлю патенту Microsoft на HoloLens 3 є те, що він матиме модульну та доступну структуру. Це означає, що зі збільшенням кількості користувачів модулі можна буде додавати за потреби, що дозволить користувачам обмінюватися різними модулями залежно від їх використання. Враховуючи, що компанія навіть має угоду з армією США, а також те, що ця технологія використовується в багатьох сферах бізнесу, це досить функціональна розробка. Опис патенту виглядає наступним чином:
“Модульний модуль датчика і дисплея може включати в себе стандартний інтерфейс для кріплення до різних систем кріплення, включаючи, наприклад, пов’язку на голові, VR-гарнітуру, дужки окулярів, шолом і тому подібне. У деяких варіантах реалізації може бути передбачений додатковий модуль, такий як модуль заднього кріплення, який може забезпечувати допоміжні обчислювальні ресурси, ресурси зберігання та живлення для модульного модуля датчика та дисплея”.

Варто зазначити, що патент не гарантує, що модульний HoloLens 3 вже на підході. Як ми вже згадували на початку статті, AR/VR-гарнітури стають дедалі популярнішими з кожним днем. Тому є велика ймовірність, що компанія втілить свої плани в життя, щоб не втратити ринок через домінування Apple.










